Доставка
Контакты
0
Список понравившихся изделий
Запчасти
Запчасти
0
Toggle navigation
0
Запчасти
Продукция
Газонокосилки бензиновые Штиль
Бензопилы Штиль
Бензокосы Штиль
Аэратор (скарификатор) Штиль
Электротриммеры Штиль
Газонокосилки электрические Штиль
Воздуходувы Штиль
Садовые измельчители Штиль
Электропилы Штиль
Садовые трактора Штиль
Ножницы садовые Штиль
МультиМотор ММ 56 Штиль
КомбиМотор Штиль
Опрыскиватели Штиль
Аккумуляторная техника Штиль
Культиваторы Штиль
Мойки высокого давления Штиль
Высоторезы Штиль
Газонокосилка робот Штиль
Подметальное устройство Штиль
Пылесосы Штиль
Мотобур Штиль
Бензорезы Штиль
Расходные материалы Штиль
Акции
Покупателю
Сервис
Доставка
Контакты
Главная страница
Каталог запчастей
Каталог запчастей STIHL (запчасти по России и СПБ) ремонт, запчасти, сервисное обслуживание.
Газонокосилки бензиновые Stihl запчасти ремонт, запчасти, сервисное обслуживание.
RM 448.0 VC | STIHL Газонокосилка бензиновая | Запчасти ремонт, запчасти, сервисное обслуживание.
093J02-0079-H5 | Двигатель | RM 448.0 VC | STIHL | Бриггс Страттон | Запчасти | Ремонт ремонт, запчасти, сервисное обслуживание.
Запасной двигатель 093J02-0079-H5 | Двигатель | RM 448.0 VC ремонт, запчасти, сервисное обслуживание.
Назад
Запасной двигатель 093J02-0079-H5 | Двигатель | RM 448.0 VC
1 | 093J02-0079-H5 | Двигатель | RM 448.0 VC | A - ГРУППА ВОЗДУШНОГО ФИЛЬТРА | STIHL | Бриггс Страттон | Запчасти | Ремонт
Увеличить
2 | 093J02-0079-H5 | Двигатель | RM 448.0 VC | B - ГРУППА КОРПУСА ВЕНТИЛЯТОРА | STIHL | Бриггс Страттон | Запчасти | Ремонт
Увеличить
3 | 093J02-0079-H5 | Двигатель | RM 448.0 VC | C - ГРУППА КАРБЮРАТОРА | STIHL | Бриггс Страттон | Запчасти | Ремонт
Увеличить
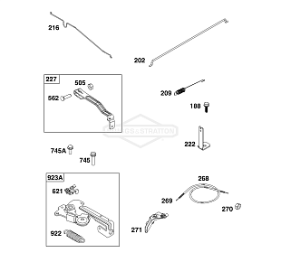
4 | 093J02-0079-H5 | Двигатель | RM 448.0 VC | D - ГРУППА ЭЛЕМЕНТОВ УПРАВЛЕНИЯ | STIHL | Бриггс Страттон | Запчасти | Ремонт
Увеличить
5 | 093J02-0079-H5 | Двигатель | RM 448.0 VC | E - ГРУППА КРЫШКИ КАРТЕРА/ПОДДОНА И СИСТЕМЫ СМАЗКИ | STIHL | Бриггс Страттон | Запчасти | Ремонт
Увеличить
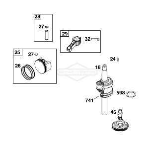
6 | 093J02-0079-H5 | Двигатель | RM 448.0 VC | F - ГРУППА КОЛЕНЧАТОГО ВАЛА | STIHL | Бриггс Страттон | Запчасти | Ремонт
Увеличить
7 | 093J02-0079-H5 | Двигатель | RM 448.0 VC | G - ГРУППА ЦИЛИНДРА | STIHL | Бриггс Страттон | Запчасти | Ремонт
Увеличить
8 | 093J02-0079-H5 | Двигатель | RM 448.0 VC | H - ГРУППА ГОЛОВКИ ЦИЛИНДРА | STIHL | Бриггс Страттон | Запчасти | Ремонт
Увеличить
9 | 093J02-0079-H5 | Двигатель | RM 448.0 VC | I - ГРУППА СИСТЕМЫ ОГ | STIHL | Бриггс Страттон | Запчасти | Ремонт
Увеличить
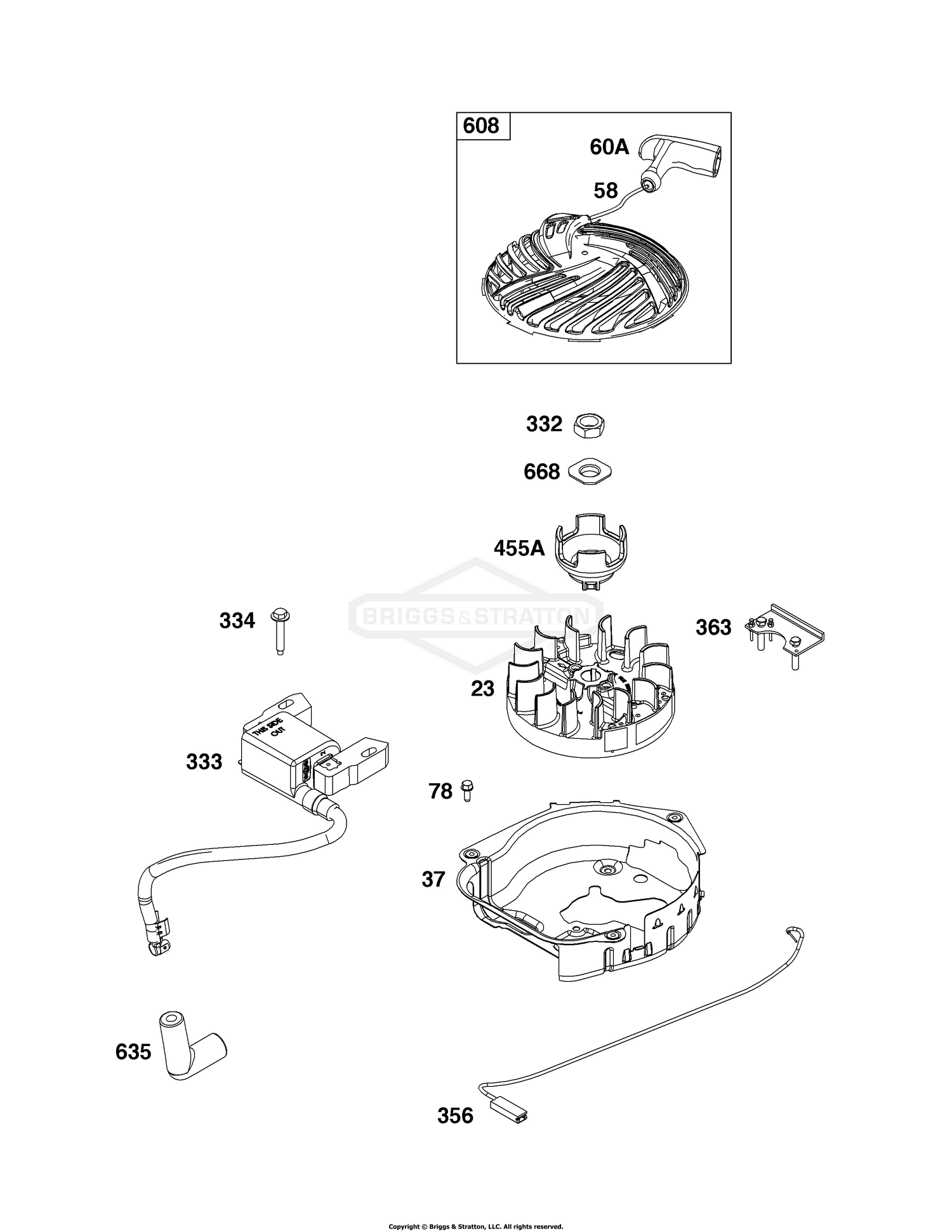
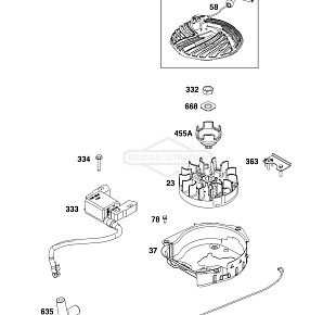
10 | 093J02-0079-H5 | Двигатель | RM 448.0 VC | J - ГРУППА МАХОВИКА, СИСТЕМЫ ЗАЖИГАНИЯ И СТАРТЕРА | STIHL | Бриггс Страттон | Запчасти | Ремонт
Увеличить
11 | 093J02-0079-H5 | Двигатель | RM 448.0 VC | K - ГРУППА СИСТЕМЫ ТОПЛИВОСНАБЖЕНИЯ | STIHL | Бриггс Страттон | Запчасти | Ремонт
Увеличить
Запасной двигатель 093J02-0079-H5 | Двигатель | RM 448.0 VC
Увеличить
Показать все схемы
Сервис
Официальный сервис
Доставка
Доставка по России
Запчасти
Оригинальные запчасти
Скидки
Для сервисных центров
Запасной двигатель 093J02-0079-H5 | Двигатель | RM 448.0 VC
1 | 093J02-0079-H5 | Двигатель | RM 448.0 VC | A - ГРУППА ВОЗДУШНОГО ФИЛЬТРА | STIHL | Бриггс Страттон | Запчасти | Ремонт
2 | 093J02-0079-H5 | Двигатель | RM 448.0 VC | B - ГРУППА КОРПУСА ВЕНТИЛЯТОРА | STIHL | Бриггс Страттон | Запчасти | Ремонт
3 | 093J02-0079-H5 | Двигатель | RM 448.0 VC | C - ГРУППА КАРБЮРАТОРА | STIHL | Бриггс Страттон | Запчасти | Ремонт
4 | 093J02-0079-H5 | Двигатель | RM 448.0 VC | D - ГРУППА ЭЛЕМЕНТОВ УПРАВЛЕНИЯ | STIHL | Бриггс Страттон | Запчасти | Ремонт
5 | 093J02-0079-H5 | Двигатель | RM 448.0 VC | E - ГРУППА КРЫШКИ КАРТЕРА/ПОДДОНА И СИСТЕМЫ СМАЗКИ | STIHL | Бриггс Страттон | Запчасти | Ремонт
6 | 093J02-0079-H5 | Двигатель | RM 448.0 VC | F - ГРУППА КОЛЕНЧАТОГО ВАЛА | STIHL | Бриггс Страттон | Запчасти | Ремонт
7 | 093J02-0079-H5 | Двигатель | RM 448.0 VC | G - ГРУППА ЦИЛИНДРА | STIHL | Бриггс Страттон | Запчасти | Ремонт
8 | 093J02-0079-H5 | Двигатель | RM 448.0 VC | H - ГРУППА ГОЛОВКИ ЦИЛИНДРА | STIHL | Бриггс Страттон | Запчасти | Ремонт
9 | 093J02-0079-H5 | Двигатель | RM 448.0 VC | I - ГРУППА СИСТЕМЫ ОГ | STIHL | Бриггс Страттон | Запчасти | Ремонт
10 | 093J02-0079-H5 | Двигатель | RM 448.0 VC | J - ГРУППА МАХОВИКА, СИСТЕМЫ ЗАЖИГАНИЯ И СТАРТЕРА | STIHL | Бриггс Страттон | Запчасти | Ремонт
11 | 093J02-0079-H5 | Двигатель | RM 448.0 VC | K - ГРУППА СИСТЕМЫ ТОПЛИВОСНАБЖЕНИЯ | STIHL | Бриггс Страттон | Запчасти | Ремонт
Запасной двигатель 093J02-0079-H5 | Двигатель | RM 448.0 VC
№
1
Ссылка №
Артикул
Используется штук
Наименование
Включая
Цена
1
093J020034H5YY0001
625E Series OHV Ready Start 3000 RPM (Remote Variable Speed) (Cylinder displacement cm? 150) (Crankshaft Dia mm 22,20) (Crankshaft Length mm 62,00)
Используется в агрегатах
56215
i