1 | 09P602-0124-H1 | A - ГРУППА ВОЗДУШНОГО ФИЛЬТРА | Двигатель BRIGGS & STRATTON | Запчасти по России | Ремонт
2 | 09P602-0124-H1 | B - ГРУППА КОРПУСА ВЕНТИЛЯТОРА | Двигатель BRIGGS & STRATTON | Запчасти по России | Ремонт
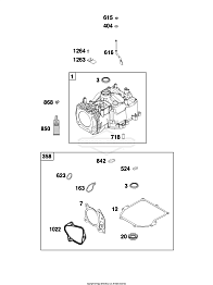
3 | 09P602-0124-H1 | C - ГРУППА КАРБЮРАТОРА | Двигатель BRIGGS & STRATTON | Запчасти по России | Ремонт
4 | 09P602-0124-H1 | D - ГРУППА ЭЛЕМЕНТОВ УПРАВЛЕНИЯ | Двигатель BRIGGS & STRATTON | Запчасти по России | Ремонт
5 | 09P602-0124-H1 | E - ГРУППА КРЫШКИ КАРТЕРА/ПОДДОНА И СИСТЕМЫ СМАЗКИ | Двигатель BRIGGS & STRATTON | Запчасти по России | Ремонт
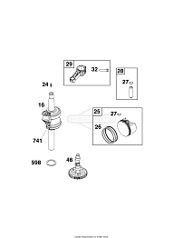
6 | 09P602-0124-H1 | F - ГРУППА КОЛЕНЧАТОГО ВАЛА | Двигатель BRIGGS & STRATTON | Запчасти по России | Ремонт
7 | 09P602-0124-H1 | G - ГРУППА ЦИЛИНДРА | Двигатель BRIGGS & STRATTON | Запчасти по России | Ремонт
8 | 09P602-0124-H1 | H - ГРУППА ГОЛОВКИ ЦИЛИНДРА | Двигатель BRIGGS & STRATTON | Запчасти по России | Ремонт
9 | 09P602-0124-H1 | I - ГРУППА СИСТЕМЫ ОГ | Двигатель BRIGGS & STRATTON | Запчасти по России | Ремонт
10 | 09P602-0124-H1 | J - ГРУППА МАХОВИКА, СИСТЕМЫ ЗАЖИГАНИЯ И СТАРТЕРА | Двигатель BRIGGS & STRATTON | Запчасти по России | Ремонт
11 | 09P602-0124-H1 | K - ГРУППА СИСТЕМЫ ТОПЛИВОСНАБЖЕНИЯ | Двигатель BRIGGS & STRATTON | Запчасти по России | Ремонт